首页
行业分类
小程序开发
网站开发
首页
行业分类
小程序开发
网站开发
☰
微信扫码
手机转发/联系
微信扫码,进入小程序拨号
名片详情
首页
名片列表
详情列表
吕建成
短信平台
5144
立即咨询
公司:山东数洽科技创新发展有限公司
拨打
电话:132****7530
微信:19374346271
地址:山东省济南市历城区舜华路2000号舜泰广场
业务标签
短信
线上引流
业务简介
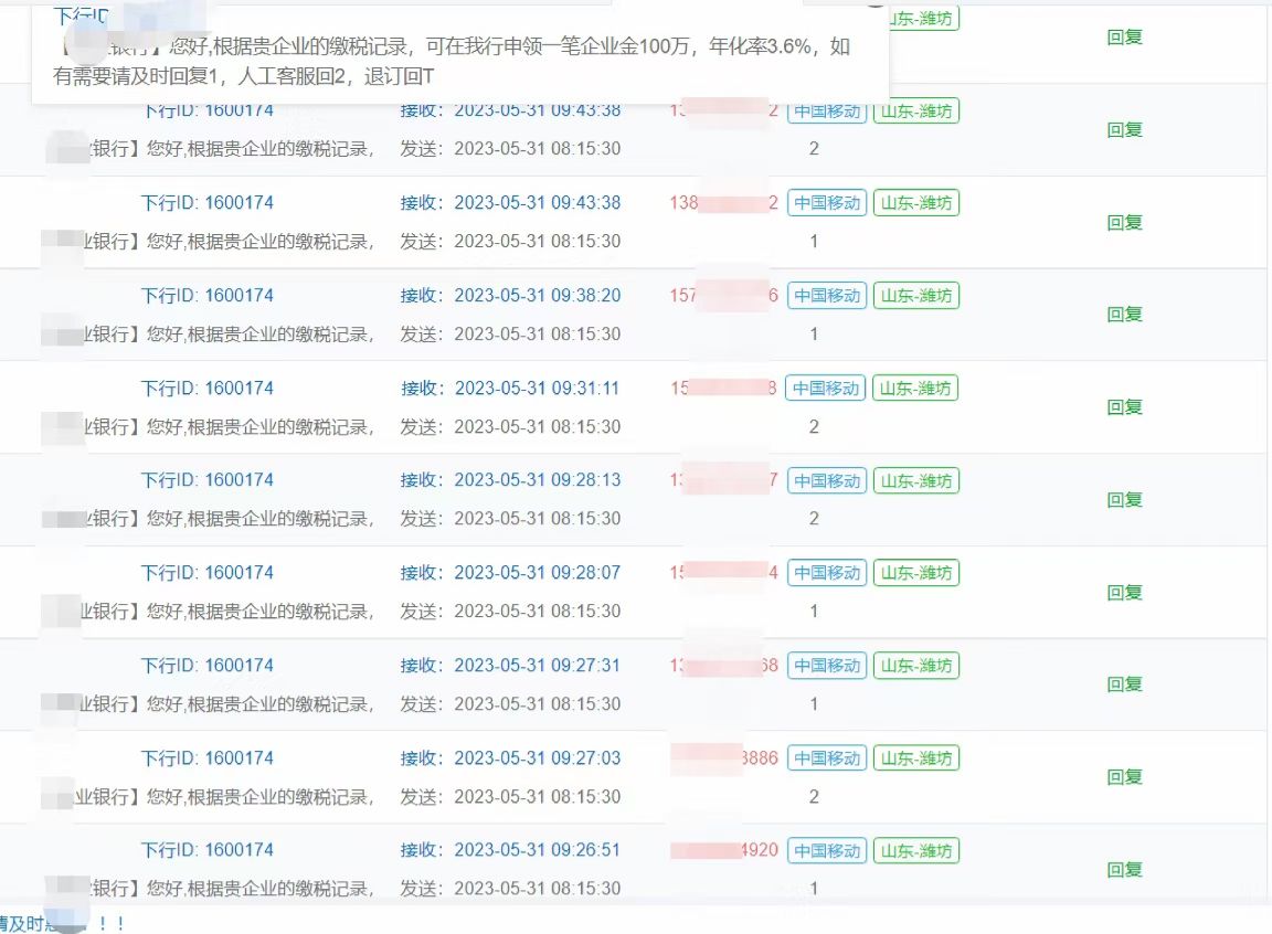
短信平台服务,通道稳定,速度快,到达率高
业务详情
同行推荐
更多
张经理
岳经理
张逢全
辛秀
满颖硕
金鹏
王总
卓宥闲
张勇
最热名片
更多
张经理
杨顺凯
自助点餐小程序
解惟庸
晴朗的天空
赵战友
全能一泡洁
陈尊发
赵丽
友情链接
济南小程序建设
济南网站制作
找群进群
济南seo公司
在线图片模板
微名片集
自学互联
观影者
背景图网
微工具集
千乐站群
济南营销培训
济南养老
官方公众号
官方小程序
在线客服
电话:15154123615
微信:tianma104
QQ:2187094935
Copyright © 2021 济南千乐网络科技有限公司 版权所有
备案号:
鲁ICP备16030308号-1